李易峰关联公司共7家,目前4家公司存续
李易峰关联公司共7家,目前4家公司存续
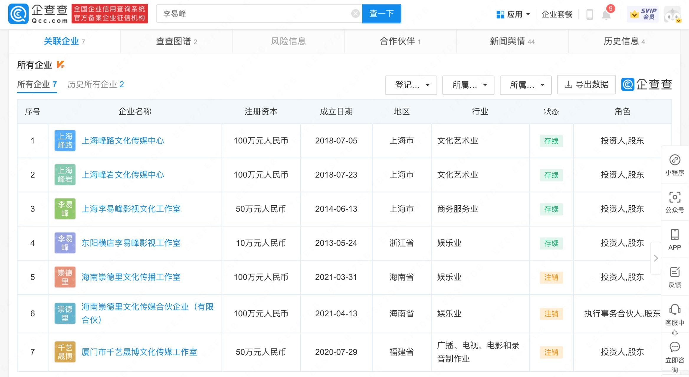
9月11日,北京警方通报李易峰多次嫖娼被行政拘留。企查查APP显示,李易峰关联公司共7家,目前仅“上海峰路文化传媒中心”“上海峰岩文化传媒中心”等四家公司存续,均为全资大股东,其中,东阳横店李易峰影视工作室近日被浪莎起诉侵权。


潇湘晨报记者李姝
新闻线索爆料通道:应用市场下载“晨视频”客户端,进入“晨意帮忙”专题;或拨打晨视频新闻热线0731-85571188。
李易峰关联公司共7家,目前4家公司存续
9月11日,北京警方通报李易峰多次嫖娼被行政拘留。企查查APP显示,李易峰关联公司共7家,目前仅“上海峰路文化传媒中心”“上海峰岩文化传媒中心”等四家公司存续,均为全资大股东,其中,东阳横店李易峰影视工作室近日被浪莎起诉侵权。


潇湘晨报记者李姝
新闻线索爆料通道:应用市场下载“晨视频”客户端,进入“晨意帮忙”专题;或拨打晨视频新闻热线0731-85571188。
河南卫视春晚已定档,河南卫视春晚定档于腊月二十八播出 来自河南卫视、大象新闻客户端 2024河南春晚将于腊月二十八播出 据河南卫视官方的消息,河南卫视春...
广东中山一中学回应学校保安虐猫:已解聘涉事人员 近日,网传广东省中山市濠头中学安保人员虐猫。该校16日通报称,学校安保人员13日在校园发现一只流浪猫,...
从未见过如此详尽的通报:结果出来了!保时捷女车主李月丈夫已被免职并被立案 调查 中国发展网讯 8月12日,据平安重庆官微消息,平安重庆于8月12日下午通报...
除了火腿,金华还拥有这些美食! 一提到金华美食就会想到“金华火腿”。火腿色泽鲜艳,红白分明,吃起来肥香而不腻。除了火腿之外,金华还拥有许多地道的...
《德兰》(第19届金爵奖最佳影片) 地区:中国 推荐理由:电影镜头里,不仅有藏区的潋滟风光,还有深入藏族生活的喜悲点滴。 影片简介: 小王接下信贷员的...
走进历史文化名城寿县 3月21日上午,“春游江淮请您来”百家媒体旅游推介活动正式启动。下午2时许,皖北行第一站来到了国家历史文化名城——安徽寿县。 寿...
中国前十强经济2019年GDP城市排名 第一名【上海市】:GDP 38155.32亿 第二名【北京市】:GDP 35371.30亿 第三名【深圳市】:GDP 26927.09亿 第四名【重庆市】:GDP 23605.77亿 第五...
二极管的分类 二极管的分类 按材料分: 硅二极管、锗二极管 按结构分: 点接触二极管、面接触二极管 按封装分: 玻璃外壳二极管(小型用)、金属外壳二极管...
济南:白孔雀罕见开屏,“仙气十足”惊艳游客 近日,济南跑马岭景区上演白孔雀开屏的惊艳一幕,由于十分罕见,引得围观游客纷纷惊呼。据了解,国际上公认...
东营火车站列车时刻表2024.5.8起执行 来源:微信公众号【石油快讯】。 原文链接:东营火车站列车时刻表(2024年5月8日起执行) 微信搜索“石油快讯”,关注微信公...
电脑壁纸分享:精选PC高清桌面壁纸分享 感谢您的浏览,如果你喜欢我分享的图片,请关注我,如果你有喜欢的壁纸类型也欢迎在留言区里留言互动! 图源网络侵...
影评下午茶《银河护卫队2》 神吐槽 目前看过的最无聊、节奏最慢的漫威,可能是为了呼应某种怀旧乡村民谣节奏,多次展示SONY walkman磁带随身听。剧情真是弱到...
老人无德,全家遭殃。 老人无德,家庭不和。如果一个家族当中的老人没有足够的道德修养,直接会影响整个家庭,形成严重的精神信号,孩子们的生活和事业将...
惊艳透明的金色甲虫 金龟叶甲虫,体长5-7毫米,它原产于美洲 以通过改变反射率使得外部的角质层变得透明 成虫和幼虫都以旋花科植物的叶为食 金龟叶甲虫背面...
还是从前那个少年!曼联官方晒C罗18年前后对比照 C罗今夏重返曼联,即将迎来回归首秀。曼联官方社媒晒出C罗在2003年首次加盟球队和现在的对比照,并配文:“...
国足抵达阿联酋阿布扎比,开始亚洲杯前最后冲刺 据腾讯体育记者在前方的报道,国足已经连夜抵达阿联酋阿布扎比,将开始亚洲杯前的最后冲刺。 昨晚,中国男...
分享一组钩针交叉花样图解,收藏起来留着用 这几款都是钩针交叉花样,图解清晰明了。 钩衣服、帽子、手套都可以用的,效果美美的。...
抖音小人发射爱心biu简笔画动图 微信爱心红包表情动图 [闽南网] 抖音微信发红包的爱心图片很多都认准了“爱心biu红包动图”,非常好玩又好看的,而且又是有创...
陈述句改反问句方法和技巧! 文章最下方获取完整电子版 陈述句改反问句的专项练习!学会不丢分!加油呀!!! 获取完整电子版看上方图片...
北京文投集团原董事长周茂非一审获刑17年 新京报讯 据京法网事消息,2025年3月20日,北京市第二中级人民法院 依法公开宣判北京市文化投资发展集团有限责任公...